Dietro il
sogno americano
Il ruolo
dell’ebraismo nella cinematografia statunitense
Tratto dal libro: "Dietro il sogno americano", Gianantonio Valli,
ed. Barbarossa
Se da una parte tutte le maggiori case
di produzione hollywoodiane sono strettamente in mani ebraiche (ma
lo sono anche catapecchie cinematografiche come
L'unica, parziale eccezione è rappresentata dalla Bank of Italy,
fondata nel
Fattosi
largo a forza in uno establishment ostile, allora dominato dai
banchieri anglosassoni, l'italiano si appoggia agli ebrei,
stipulando, attraverso il produttore Sol Lesser, un'alleanza con i
produttori di Hollywood e con i banchieri di New York interessati
allo sviluppo dell'industria cinematografica.
Il propulsore di tale impegno non è però direttamente Amedeo, ma suo
fratello Attilio, detto «Doc» per via di una sua laurea in medicina.
Quando
Fondata nel 1919, la Loews
Incorporated vede l'interessamento anche di altri banchieri. Come
abbiamo accennato parlando della MGM, è per questo motivo che nella
direzione della Loew compaiono i «gentili» W.C. Durant, dirigente
della General Motors, e H. Gibson, presidente della Liberty National
Bank.
Un altro banchiere perno dello sviluppo dell'industria
cinematografica americana è Otto Hermann Kahn. Nato nel
In tempo rimarchevolmente breve, da
impiegato Otto diviene alto dirigente e socio. Dal 1903 al 1917 è
presidente del Consiglio di Amministrazione della Metropolitan Opera
Company. Adolph Zukor, già finanziato da Pierpont Morgan, lo
contatta intorno al 1919 tramite suo fratello Felix Kahn,
proprietario di una delle più estese catene teatrali newyorkesi.
Quando
cede la sua catena, venendo cooptato nella casa e divenendone uno
dei massimi dirigenti, oltre che amico intimo di Zukor. Alla fine
degli anni Venti, delle quindicimila sale cinematografiche sparse
sul territorio degli Stati Uniti,
Cosi si esprime ancora il Gabler: «Zukor aveva una forte affinità
con i Kahn. I due fratelli erano apostati dal giudaismo, senza
speranza di assimilazione, sebbene essi fossero in proposito più
decisi che non Zukor. Otto aveva completamente rigettato il
giudaismo e si era fatto episcopaliano. Essi affettavano uno stile
di vita "imperiale", pensando di consolidare in tal modo il loro
status di gentleman. Ed ancora credevano nelle arti come mezzo di
mobilità sociale. In effetti, sembra che Otto Kalm si riferisse a
Zukor quando, pochi anni più tardi notificò ad un gruppo di
soggettisti e produttori che "nell'arte come in ogni cosa il popolo
americano ama essere guidato in alto e in avanti", continuando poi a
riferirsi "alla grande importanza ed alla potenzialità del cinema
come industria, influenza sociale ed arte"».
Un
gustoso aneddoto sul suo conto merita a questo punto di essere
riportato. Fattosi protestante, Kahn cerca per anni di ignorare e di
far ignorare la sua origine ebraica. Passando un giorno per
Come
Solo Williarn Fox avrebbe «osato» accordi con banchieri «gentili»
non legati alla finanza ebraica, e subito l'A T & T, Halsey, Stuart
& Co. ed altri finanzieri avrebbero cospirato per sottrargli il
potere di controllo sulla filmografia sonora, campo nel quale Fox si
trovava allora all'avanguardia e nel quale essi avevano investito
considerevoli mezzi finanziari.
La crisi dell'ottobre 1929 costringe
le grandi case a fare ricorso alla Chase National Bank di
Rockefeller, oppure alla Atlas Corporation di Morgan, che impongono
una drastica politica di organizzazione e sottomettono alla fine la
produzione al loro diretto controllo.
«Il 1935» - scrive Sadoul - «è l'anno in cui le conseguenze della
crisi economica e della nuova "guerra dei brevetti sonori" portano
ad un rafforzato controllo dei grandi gruppi finanziari sulla città
del cinema. Otto Grandi regnano ormai su Hollywood; cinque
"maggiori": la Paramount, la Warner, la Loew-MGM,
I veri padroni degli oligopoli
cinematografici rappresentati dalle maggiori case di produzione sono
ancor oggi i grandi finanzieri di Wall Street (anch'essi nella
maggior parte di ascendenza ebraica). I maggiori trust finanziari e
bancari statunitensi, le «Big Three», sono ancor oggi i gruppi
Rockefeller, Morgan, e
Come continua Georges Sadoul, l'attività dei monopoli
cinematografici di Hollywood sarà da allora prevalentemente diretta
da fini commerciali: «I dirigenti, che sono praticamente i delegati
dell'alta finanza, stabiliscono con precisione quanto deve rendere
ogni film e se il bilancio risulta in deficit tutti quelli che hanno
concorso a crearlo (attori, directors e producers) si troveranno
presto o tardi licenziati. I finanziatori americani padroni di
Hollywood liquidano spietatamente questi executives, che sembrano
tanto potenti, non appena il bilancio delle grandi case da essi
dirette si rivela passivo».
Tuttavia, nota sempre Sadoul, in talune circostanze i finanzieri di
Wall Street autorizzano delle spese «disinteressate». Uno degli
esempi più chiari si manifesta nel primo decennio del dopoguerra.
Nel 1948
«Per la Fox, la MGM,
I film anticomunisti contribuiscono a
creare nell'opinione pubblica il panico della guerra fredda e
pertanto a determinare commesse militari, atomiche o di altro
genere, a tutto vantaggio delle grandi ditte e degli interessi che
controllano anche le maggiori case cinematografiche di Hollywood.
Pertanto il bilancio complessivo è largamente attivo.
I legami che uniscono Hollywood al mondo del big business risultano
quanto più chiari nella pittoresca figura del multimiliardario
«gentile» Howard Hughes.
Nato nel 1905 (e deceduto nel 1976), questo figlio di un milionario
californiano si interessa ben presto, come abbiamo visto, al cinema
(nel 1932 è tra l'altro produttore di Scarface). Fin dall'età di
venticinque anni finanzia, e talvolta anche dirige, numerose
pellicole nelle quali ha gran parte l'aviazione, attività tra
l'altro a lui cara anche dal punto di vista sportivo. Mentre
conquista alcuni record come aviatore, egli consolida così la fama
di talune dive che godono dei suoi favori.
Nel 1948 il Nostro acquista per
parecchi milioni di dollari, dal gruppo finanziario Rockefeller,
«Si disse allora» - scrive Sadoul - «che
In breve, secondo la rivista, Flughes
è uno dei dieci maggiori proprietari di industrie belliche
americane. Nel bilancio militare degli USA la Howard Hughes Aircraft
Co. (i cui stabilimenti occupano un'area di trenta ettari in
California e in Arizona) incide ogni anno per duecento milioni di
dollari sulla fornitura di missili teleguidati fabbricati da una
delle aziende affiliate,
Anche se il loro bilancio complessivo
è quindi deficitario, la loro propaganda contribuisce tuttavia a
determinare una situazione che viene cosi riassunta da Time: «Gli
Stati Uniti avevano ormai trasmesso tutte le loro commesse di
materiale antiaereo ad un unico gruppo finanziario, affidandosi
completamente nelle mani di Howard Hughes, come egli stesso ebbe a
dichiarare».
E’ dunque difficile considerare la grande produzione filmica
americana indipendentemente dai grandi gruppi industriali e
finanziari che la controllano, poiché, nell'azione tendente a
monopolizzare il cinema mondiale, Hollywood è collegata, da oltre
mezzo secolo, agli altri grandi monopoli statunitensi (banche,
petrolio, industrie aviatorie, automobilistiche, elettriche,
chimiche ed atomiche).
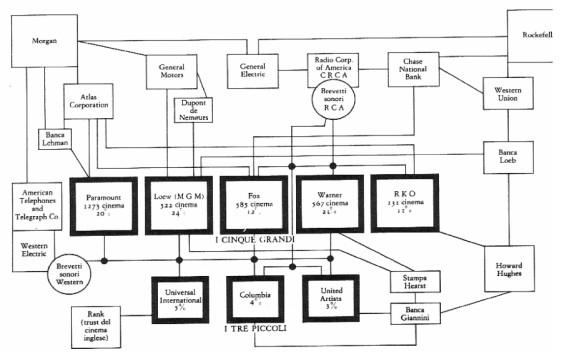
I «grandi» di Hollywood ed i monopoli
americani nel 1950. La percentuale (ad esempio, Paramount 20 per
cento) indica quella di ogni compagnia, nel 1939, rispetto alla
cifra d'affari complessiva delle otto majors.
Le principali case bancarie ebraiche statunitensi del XX secolo. Le
linee interrotte indicano i legami matrimoniali; la doppia
sottolineatura, i membri attivi delle varie banche. Strettissima è
l'interconnessione tra le maggiori, con perno sulla Kuhn, Loeb & Co.
e sulla J. & W. Seligman & Co.
I «grandi» di Hollywood ed i monopoli americani nel 1950. La
percentuale (ad esempio, Paramount 20 per cento) indica quella di
ogni compagnia, nel 1939, rispetto alla cifra d'affari complessiva
delle otto majors.
A pp. 154-5: Le principali case
bancarie ebraiche statunitensi del XX secolo. Le linee interrotte
indicano i legami matrimoniali; la doppia sottolineatura, i membri
attivi delle varie banche. Strettissima è l'interconnessione tra le
maggiori, con perno sulla Kuhn, Loeb & Co. e sulla J. & W. Seligman
& Co.
Contro l’Hollywoodismo, il Revisionismo
Di Robert Faurisson. Rinascita, 21 Feb 2012































